欢迎来到九游网站平台-九游online(中国)

您当前所在的位置:主页 > 产品中心 > 起重吊钳系列 >
LIFTING CLAMP SERIES
起重吊钳系列

日式横吊起重吊钳LC型

日式横吊起重吊钳LC型

1、全模锻制配件。 2、优质合金钢特殊热处理。 3、小型轻便,方便使用。 4、装卸简便,配件可随时更换。 5、表面镀铬,防潮防锈,美观大方。

全国咨询热线:

更多联系方式
-产品详情- -产品参数-
1、全模锻制配件。
2、优质合金钢特殊热处理。
3、小型轻便,方便使用。
4、装卸简便,配件可随时更换。
5、表面镀铬,防潮防锈,美观大方。

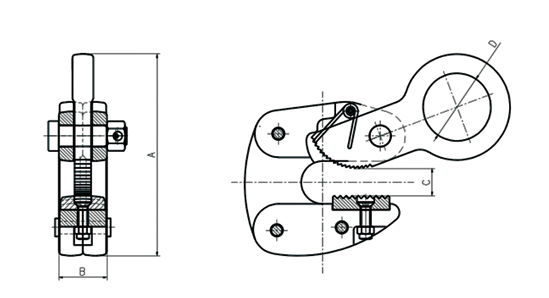
产品参数

相关产品

创造客户价值 助力客户成功

九游网站平台-九游online(中国)凭借着高新的技术、优异的品质及良好的服务赢得了客户点赞,在国内外众多企业大放异彩!

COPYRIGHT© 九游网站平台-九游online(中国) ALL RIGHTS RESERVED